项目简介
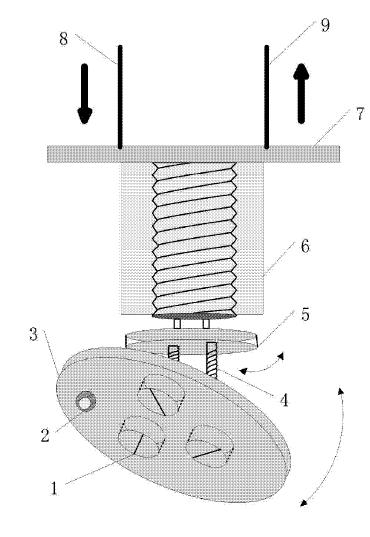
本发明涉及一种基于大气中性点的偏振遥感地一气信息分离测量装置,包括偏振传感器装置、偏振传感器机械平台、控制单元、计算机所述偏振传感器装置固定在偏振传感器机械平台上所述偏振传感器装置的控制端与控制单元相连接,进行数据的采集与控制所述控制单元连接计算机,进行数据及控制信号通信。


图1 本发明偏振传感器装置和偏振传感器机械平台结构图和侧视图
应用范围
本发明区别于常规遥感主要利用大气窗口进行地表观测的限制,可以广泛用于航空航天偏振遥感对地表目标观测中的大气纠正技术与对地观测实用系统中。
项目阶段
本专利所涉及实验处于实验室实验阶段,发明专利已通过审核得以授权。涉及基于大气中性点利用偏振仪器进行观测,预期实现遥感观测地-气分离。


图2 非大气中性点下拍摄的地表图像和大气中性点下拍摄的地表图像
合作方式
合作开发、技术转让、技术许可。
联系方式
邮箱:kjkfb@pku.edu.cn